
Eu estou pensando em fazer vídeos para o YouTube comentando as notícias da semana nos videogames, além de falar um pouco sobre como é trabalhar neste mercado e contar histórias de coisas pelas quais já passei nestes 17 anos nessa indústria vital.
Não tem roteiro, não tem muitas piadinhas e a edição é a mais simples que eu puder fazer. A idéia é não ter desculpa pra não gravar já que só de falar em filmar, produzir, editar e publicar já me deixa cansado. É um trabalho insano! Por isso respeito muito quem produz conteúdo em geral. Tem que gostar do que faz e não pode ter medo nem de mostrar o rosto, nem de falar e muito menos de ganhar uns haters.
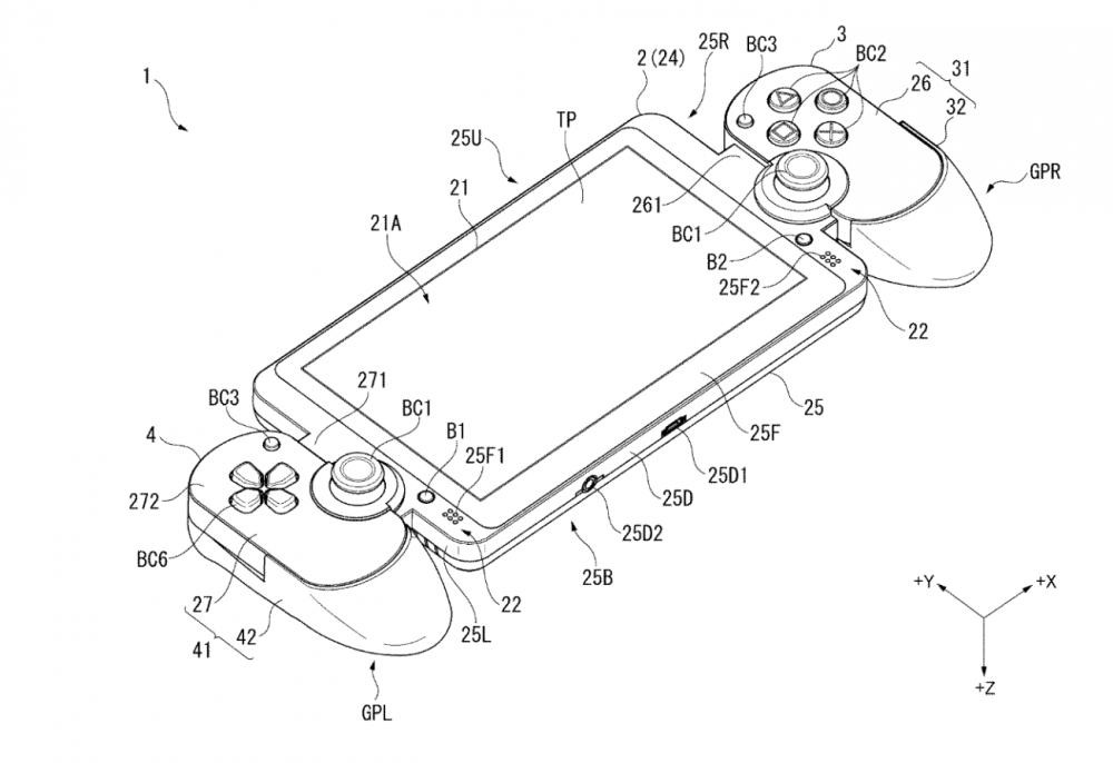
Bom, neste vídeo eu comento o atraso no lançamento do Red Dead Redemption 2 que fez as ações da Rockstar Games caírem e também do novo portátil da Sony que teve sua patente registrada em fevereiro deste ano e nada mais é do que uma versão chupinhada do Nintendo Switch só que com a potência de um PS4. Bom, assistam aí e comentem já que sei que nem todo mundo vai concordar com o que eu disse.
Esse portátil além de uma entrada USB C para recarregar virá com uma entrada para cartões SD e chip SIM para internet LTE via rede celular. A tela será touch screen e o controle que mais se parece um Dualshock cortado no meio terá vibração dos dois lados. Além de poder se comunicar com o PlayStation 4 para rodar games como o PS Vita já faz, este novo aparelho deve usar permissões via internet para rodar jogos sem estar necessariamente conectado ao console de casa. Ou seja, é provável que com sua conta na PSN seja possível jogar os games baixados nele da mesma maneira que um jogador de PS4 usa sua conta para baixar e jogar games na casa do amigo. Enfim, a ideia está patenteada. Falta agora saber se é nesta E3 mesmo que vão anunciar e se a teoria maluca do vídeo faz sentido!
